±â¼ú/Á¦Ç° ±â´É ¹× Ư¡ (»çÁøÆ÷ÇÔ) |

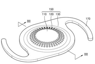
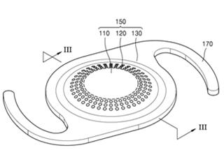
- Àΰø¼öÁ¤Ã¼ ³»ºÎ¿¡ ±¤¼¶À¯¸¦ ¹èÄ¡ÇÏ¿© ºûÀ» Á¤·ÄÇϰí, ½Ã·Â ¹× ½Ã¾ß È®º¸¿¡ À¯È¿ÇÑ ºû¸¸ Åë°ú½ÃÅ´À¸·Î½á, ÃÊÁ¡ ½Éµµ¸¦ Çâ»óÇÏ¿© ¿ø°Å¸®, Á߰Ÿ® ¹× ±Ù°Å¸® ½Ã·ÂÀ» ¸ðµÎ È®º¸ÇÔ, À¯¸®¼¶À¯¿Í ÇÉȦȿ°ú¸¦ ÀÌ¿ëÇÏ¿© ºûÀ» Á¤·ÄÇÏ¿© ÃÊÁ¡½Éµµ¸¦ Çâ»óÇÔÀ¸·Î½á, ·»ÁîÀÇ ¸ð¾ç°ú ¾È±¸ ³»¿¡¼ÀÇ À§Ä¡°¡ º¯ÇÏÁö ¾Ê¾Æµµ Á¶Àý¼º ¾È³»·»ÁîÀÇ ±â´ÉÀ» ¸ðµÎ ȹµæÇÔ.
|