|
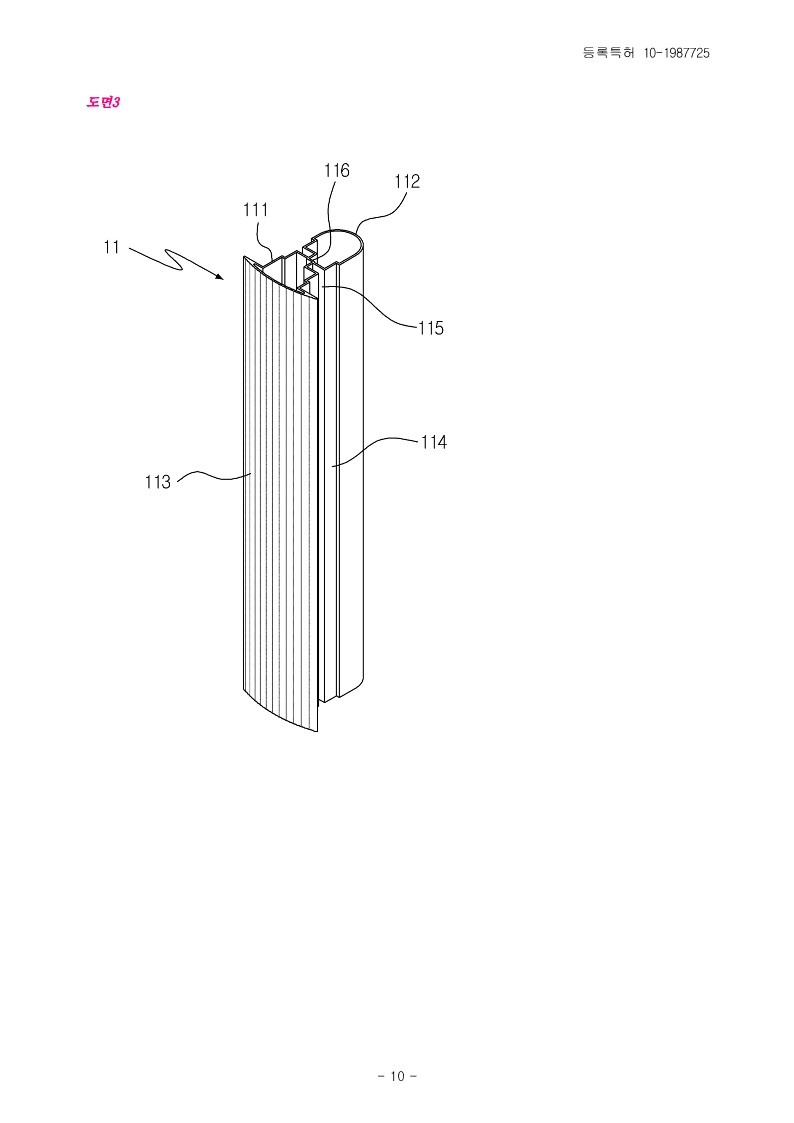
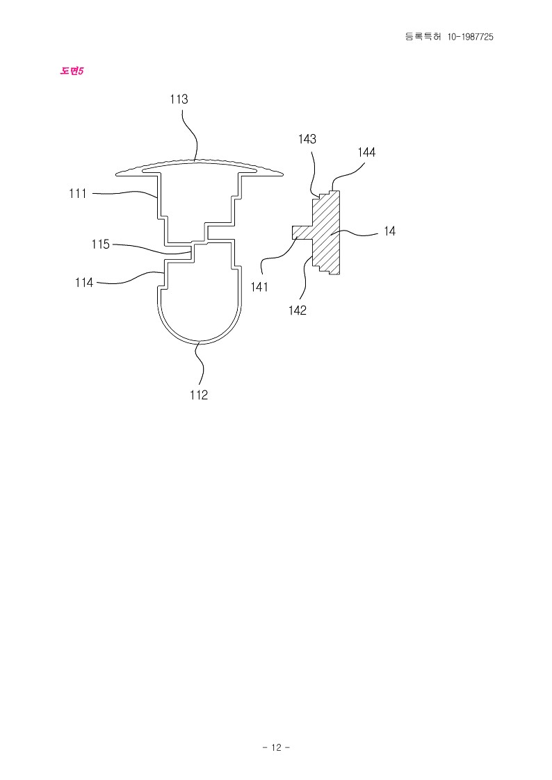
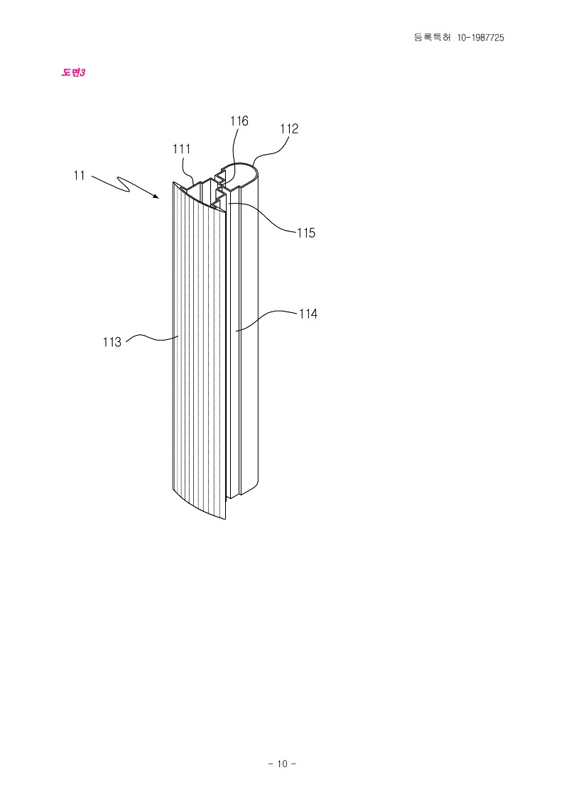
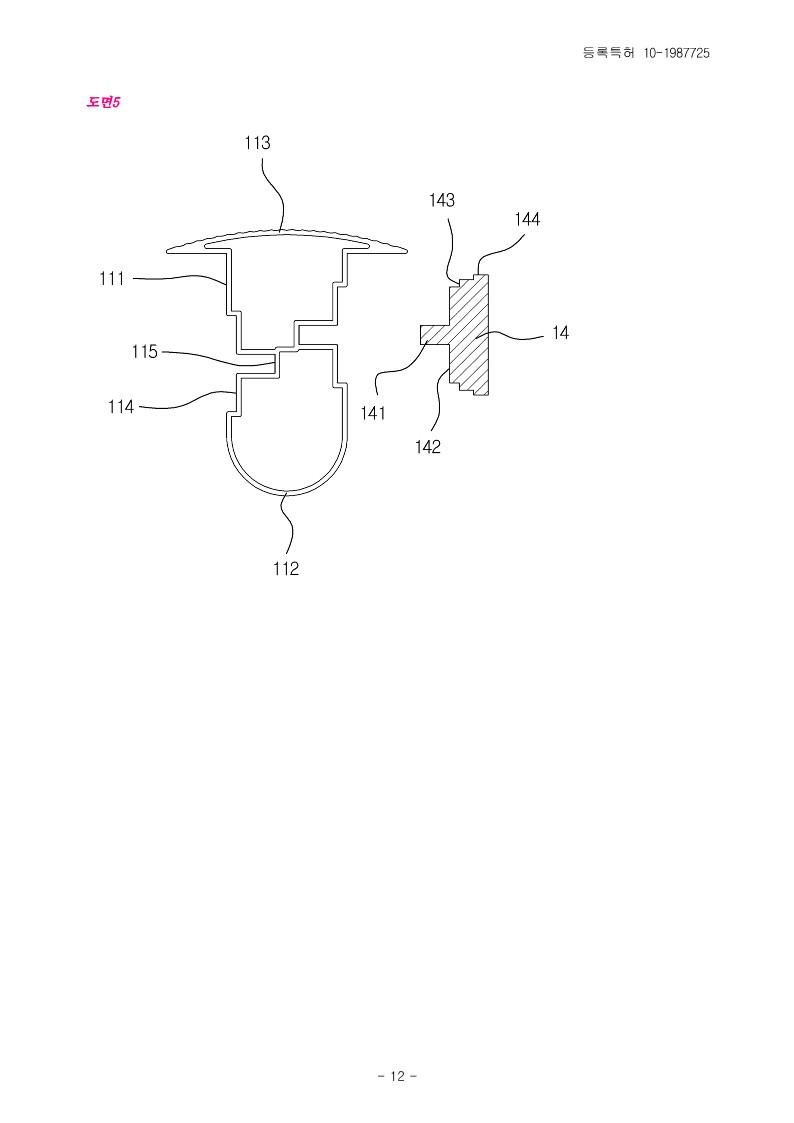
À§ Á¦Ç°Àº ½Ã½ºÅÛ °¡±¸¿¡ °üÇÑ °ÍÀ¸·Î¼, »ç¿ëÀÚÀÇ Çʿ信 µû¶ó ´Ù¾çÇÏ°Ô Á¶¸³ÇÒ ¼ö ÀÖµµ·Ï ÇÏ´Â ½Ã½ºÅÛ °¡±¸¿¡¼ ´Ù¾çÇÑ Æø°ú ³ôÀ̸¦ °¡Áú ¼ö ÀÖµµ·Ï ÇÏ¸é¼ Á¶¸³ÀÌ ¿ëÀÌÇÏ°í ¿Ü°üÀÌ ¹Ì·ÁÇϵµ·Ï Çϱâ À§ÇÏ¿© °³¹ßµÈ °ÍÀ¸·Î ¼öÁ÷À¸·Î ÀÔ¼³µÇ´Â º¹¼ö °³ÀÇ Æ÷½ºÆ®¿Í, »ó±â Æ÷½ºÆ® »çÀ̸¦ ¿¬°á °íÁ¤ÇÏ´Â ¼±¹Ý ÁöÁö´ë¿Í, »ó±â ¼±¹Ý ÁöÁö´ë¿¡ °íÁ¤µÇ´Â ¼±¹ÝÀ¸·Î ±¸¼ºµÇ´Â ½Ã½ºÅÛ °¡±¸¿¡ ÀÖ¾î¼ »ó±â Æ÷½ºÆ®´Â ¾çÃøÀÇ Æò¸éÀÎ ÇÑ ½ÖÀÇ ÁöÁö´ë ¹ÐÂø¸é°ú, ÇÑ ½ÖÀÇ »ó±â ÁöÁö´ë ¹ÐÂø¸éÀÇ ÈÄ¹æ ³¡´ÜÀ» ¿øÈ£ÇüÀ¸·Î ¿¬°áÇÏ´Â ÈÄ¹æ ¸¶°¨ºÎ¿Í, ÇÑ ½ÖÀÇ »ó±â ÁöÁö´ë ¹ÐÂø¸éÀÇ Àü¹æ ³¡´Ü¿¡¼ »óÈ£ ¹Ý´ë ¹æÇâÀ¸·Î Àý°î ¿¬ÀåµÈ ÈÄ Àü¹æÀ¸·Î º¼·ÏÇÑ °î¼±À¸·Î ÀÏü·Î ¿¬°áµÇ´Â Àü¹æ ¸¶°¨ºÎ¿Í, »ó±â ÁöÁö´ë ¹ÐÂø¸é¿¡ ÇÔ¸ôµÇ¾î ¼öÁ÷À¸·Î ±æ°Ô ¿¬ÀåµÇ´Â °¡ÀÌµå ¾ÈÂøÈ¨°ú, »ó±â °¡ÀÌµå ¾ÈÂøÈ¨ÀÇ Áß¾Ó¿¡¼ ÇÔ¸ôµÇ¾î ¼öÁ÷À¸·Î ±æ°Ô ¿¬ÀåµÇ´Â °¡ÀÌµå °íÁ¤È¨À¸·Î ±¸¼ºµÇ¾î 4°³ ÀÌ»óÀÌ °ÝÀÚ ¹è¿·Î ¹èÄ¡µÇ¸ç ÀüÈÄ ¹æÇâÀ¸·Î ÀÌ°ÝµÈ Æ÷½ºÆ®´Â ÈÄ¹æ ¸¶°¨ºÎ°¡ »óÈ£ ¸¶ÁÖº¸µµ·Ï ¹èÄ¡µÇ°í ¹è¸é¿¡¼ »ó±â °¡ÀÌµå °íÁ¤È¨¿¡ »ðÀԵǴ °íÁ¤µ¹±â¿Í, »ó±â °íÁ¤µ¹±â¿¡¼ ´ÜÅÎÁö°Ô È®ÀåµÇ¾î »ó±â °¡ÀÌµå ¾ÈÂøÈ¨¿¡ ¾ÈÂøµÇ´Â ¾ÈÂø´ÜÅκοÍ,»ó±â ¾ÈÂø´ÜÅκο¡¼ ´ÜÅÎÁö°Ô È®ÀåµÇ¾î ÁöÁö´ë ¹ÐÂø¸é¿¡ ¹ÐÂøµÇ´Â ¹ÐÂø´ÜÅκοÍ, »ó±â ¹ÐÂø´ÜÅκο¡¼ ´ÜÅÎÁö°Ô È®ÀåµÇ¾î »óºÎ´Â ¹Ý¿øÇüÀ̰í ÇϺδ »ç°¢ÀÇ ÆÇ Çü»óÀ» °¡Áö¸ç Á¤¸éÀº µ¿ÀÏÇÑ Çü»óÀ¸·Î ´ÜÅÎÁö°Ô È®ÀåµÇ´Â ´õºêÅ×ÀÏ °íÁ¤ÆÇ°ú, »ó±â ´õºêÅ×ÀÏ °íÁ¤ÆÇ¿¡¼ °üÅëµÇ¾î °íÁ¤³ª»ç°¡ »ó±â °¡ÀÌµå °íÁ¤È¨À» °üÅëÇϵµ·Ï ÇÏ´Â µÎ °³ÀÇ °íÁ¤È¦À¸·Î ±¸¼ºµÇ´Â º¹¼ö °³ÀÇ ÁöÁö´ë °íÁ¤±¸°¡ »ó±â Æ÷½ºÆ®¿¡ ÀåÂøµÇ°í »ó±â ¼±¹Ý ÁöÁö´ë´Â ÀüÈÄ ¹æÇâÀ¸·Î ¿¬ÀåµÇ´Â ±ä ¹ÙÀÇ Çü»óÀ» °¡Áö°í ¾ç³¡´ÜÀº ÀÎÁ¢ÇÑ Æ÷½ºÆ®¿¡ ÀåÂøµÇ´Â °¢°¢ ÁöÁö´ë °íÁ¤±¸¿¡ ´ëÀÀÇÏ¿© »ó±â Æ÷½ºÆ®ÀÇ ÈÄ¹æ ¸¶°¨ºÎÀÇ Àý¹Ý°ú ÀÏÃøÀÇ ÁöÁö´ë ¹ÐÂø¸éÀÌ ¹ÐÂøµÇµµ·Ï ÇÔ¸ôµÇ´Â Æ÷½ºÆ® ¹ÐÂøºÎ¿Í, ÇϺδ °³±¸µÇ¾î »ó±â ´õºêÅ×ÀÏ °íÁ¤ÆÇÀÌ »ðÀÔµÇ¾î °íÁ¤µÇµµ·Ï ÇÏ´Â ´õºêÅ×ÀÏ °áÇպοÍ, »ó±â Æ÷½ºÆ® ¹ÐÂøºÎ°¡ Çü¼ºµÈ ¹Ý´ëÃø ÇÏ´Ü¿¡¼ ÆÇ»óÀ¸·Î ¼öÆòÀ¸·Î ¿¬ÀåµÇ´Â ¼±¹Ý ¾ÈÂøºÎ¿Í, »ó±â ¼±¹Ý ¾ÈÂøºÎ¿¡ ¼öÁ÷ °üÅëµÇ´Â º¹¼ö °³ÀÇ ¼±¹Ý °áÇÕȦÀ» ±¸ºñÇÏ¿© ¼±¹ÝÀÇ ÀÏÃøÀÌ ¾ÈÂø °íÁ¤µÇµµ·Ï ±¸¼ºµÊÀ» Ư¡À¸·Î ÇÏ´Â ½Ã½ºÅÛ °¡±¸¿¡ °üÇÑ °ÍÀÔ´Ï´Ù.     
|